2022-06-24 责任编辑: 富宝科技 0

赢彩网welcome 行星减速机的功能是在降低与之相连接的电机的转速的同时输出更大的转矩,因此被广泛利用与各行各业中,且对各类与之相连接的设备运行精度均有较大影响,由于行星减速机的内部的太阳轮和行星轮需要通过卡齿啮合配合转动,而多个齿轮配合转动时往往会发生震动,震动不仅会导致内部结构之间配合精度降低,导致行星减速机的传动精度下降,震动过于激烈时还易造成部件的损毁,缩短行星减速机的使用寿命,且行星减速机的震动导致其与其他装置或机构的连接固定点松动,且震动还会被传递至其他装置或机构上,从而扩大震动造成的不利影响,针对以上问题,可以提出一种新型行星减速机,通过在行星减速机的内部和外部同时增设减震机构,起到多重减震的效果,提升行星减速机的传动稳定性。

一种多重减震行星减速机,解决了现有技术震动会导致行星减速机运行不稳定的问题?
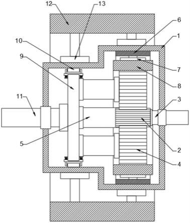
赢彩网welcome 一种多重减震行星减速机,包括保护外壳,保护外壳的内设置有太阳轮,太阳轮的一侧固定连接有输入轴,输入轴贯穿保护外壳在贯穿处通过轴承套与保护外壳转动连接,太阳轮的外侧设置有三个呈阵列分布的行星轮,行星轮与太阳轮通过卡尺啮合连接,太阳轮的外侧设置有齿环,所有的太阳轮均与齿环通过卡齿啮合连接,齿环的外侧设置有连接套,连接套与保护外壳固定连接,连接套和保护外壳通过若干个内连接件连接,太阳轮远离输入轴的一侧设置有支撑架,三个行星轮均通过连接柱与支撑架固定连接,连接柱与行星轮和支撑架均固定连接,支撑架远离太阳轮的一侧固定连接有输出轴,输出轴贯穿保护外壳且在贯穿处通过轴承套与保护外壳转动连接;
内连接件包括固定板、第一弹簧以及滑竿,固定板与齿环的外壁固定连接,固定板与连接套通过滑竿连接,滑竿与固定板固定连接,连接套的内部开设有与滑竿相配合的开槽,滑竿和连接套通过滑竿与开槽的配合滑动连接,开槽的内部设置有第一弹簧,第一弹簧与滑竿和连接套均固定连接。
点
击
隐
藏